سبد خرید خالی است
ابزار استاندارد فرمان چپ 5F سیویتی
مجموعه جزئی موتور 1NRVE 2NRVE
بلوک کوتاه مجموعه 1NRVE 2NRVE 3NRVE 2NRVEX
تعمیر اساسی موتور واشر کیت 1NRVE 2NRVE
سر سیلندر سیلندر سر درپوش 1NRVE
سر سیلندر سیلندر سر 1NRVE
بلوک سیلندر 1NRVE 2NRVE
دنده تایمینگ درپوش عقب END صفحه 1NRVE
نصب 1NRVE 2NRVE
شیلنگ تهویه 1NRVE
میل لنگ پیستون 1NRVE 2NRVE
میل بادامک سوپاپ 1NRVE 2NRVE 2NRVEX
پمپ روغن موتور 2NRVEX 1NRVE 2NRVE
فیلتر روغن 2NRVEX 1NRVE 2NRVE
پمپ آب 1NRVE
خروجی آب رادیاتور 160W رادیاتور 1NRVE 2NRVE سیویتی 1NRVE 3NRVE سیویتی
خروجی آب رادیاتور 80W رادیاتور 2NRVE 5F 2NRVE 1NRVE 2NRVE فرمان راست
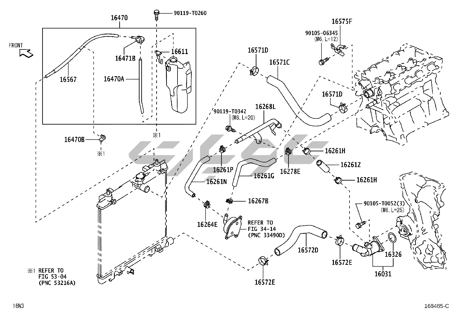
خروجی آب رادیاتور بخاری شیلنگ RESERVE باک 2NRVE فرمان راست سیویتی 1NRVE 2NRVE سیویتی
خروجی آب رادیاتور بخاری شیلنگ RESERVE باک 1NRVE 2NRVE سیویتی
V-BELT 1NRVE 2NRVE
منیفولد (لوله ورودی/خروجی موتور) 1NRVE 2NRVE
لوله اگزوز 1NRVE 2NRVE
فیلتر هوا 1NRVE 2NRVE
لوله وکیوم EJECTOR 1NRVE سیویتی 1NRVE 5F 2NRVE 5F 2NRVE MA
کویل جرقه، شمع، شمع گرمکن 2NRVEX 1NRVE 2NRVE
دینام 12 ولت 100A 2NRVE فرمان راست سیویتی 1NRVE فرمان چپ 3NRVE
دینام 12 ولت 80A 2NRVE 1NRVE فرمان راست
استارت 12 ولت 1NRVE
سیستم تزریق سوخت 2NRVE 1NRVE