سبد خرید خالی است
ابزار استاندارد
مجموعه جزئی موتور
بلوک کوتاه مجموعه
تعمیر اساسی موتور واشر کیت
سر سیلندر
بلوک سیلندر
دنده تایمینگ درپوش عقب END صفحه
نصب M20CFKS
شیلنگ تهویه
میل لنگ پیستون
میل بادامک سوپاپ
پمپ روغن موتور
فیلتر روغن
موتور روغن خنککننده
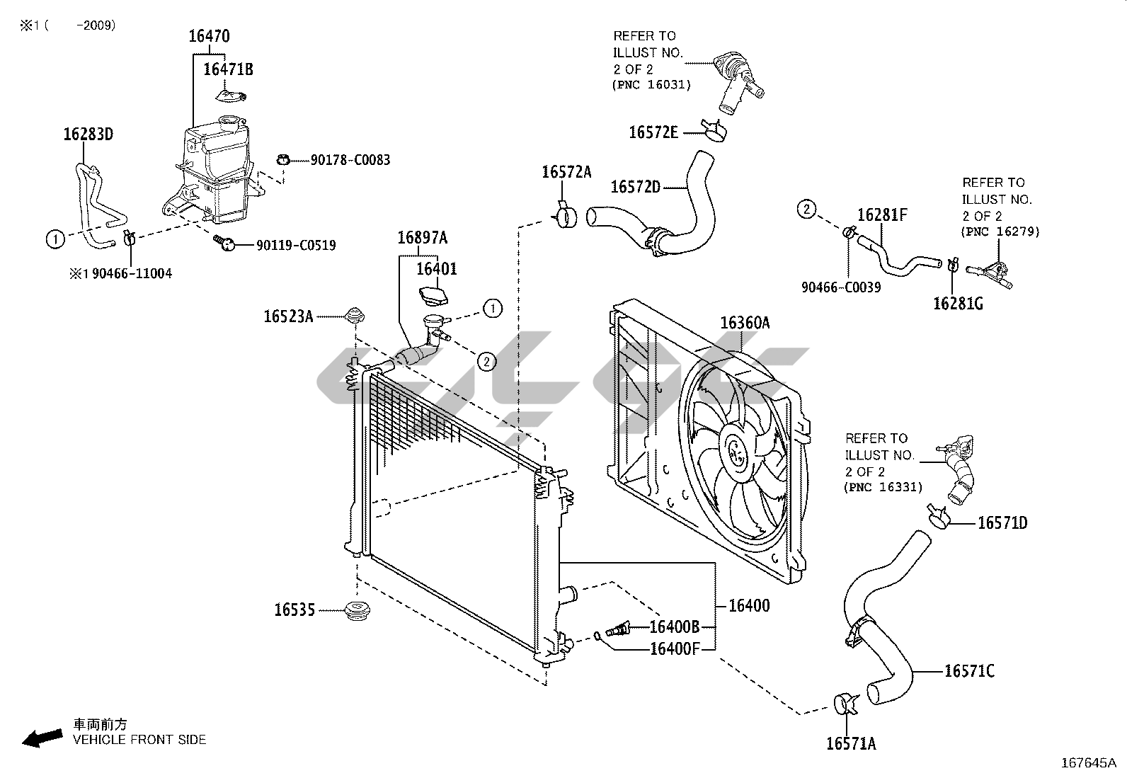
خروجی آب رادیاتور
V-BELT
منیفولد (لوله ورودی/خروجی موتور)
لوله اگزوز
فیلتر هوا
لوله وکیوم M20CFKS
کویل جرقه، شمع، شمع گرمکن
دینام 12 ولت 130A M20CFKS
استارت 12 ولت
پمپ وکیوم BOSCH
پمپ وکیوم TAIHO
سیستم تزریق سوخت
سیستم گردش مجدد گاز اگزوز