سبد خرید خالی است
چراغ جلو
چراغ مه شکن
چراغ راهنمای جلو
CLEARANCE جلو چراغ
چراغ راهنمای کناری و چراغ آینه بیرونی
چراغ ترکیبی عقب
عقب UP چراغ
چراغ پلاک عقب
چراغ توقف مرکزی
چراغ داخلی
باتری کابل
گیره سیمکشی
نمایشگر
کامپیوتر رله کلید
کامپیوتر رله کلید HTWC TWC
سیستم تزریق سوخت الکترونیکی
CRUISE کنترل GT GTL (AUTO_DRIVE)
ای بی اس وی اس سی TWC TWT
الکترونیکی MODULATED تعلیق CP GT
قفل درب بیسیم MZ2
برفپاککن شیشه جلو
برفپاککن عقب CP TWC
شوینده شیشه جلو
شوینده عقب CP TWC
درب موتور SOLENOID
صندلی موتور بخاری TWC
کندانسور تقویتکننده گیرنده رادیو
بلندگو MZ2
بلندگو TWIN عقب LOAD
نمایشگر جلو NAVIGATION MZ2
آنتن
بوق
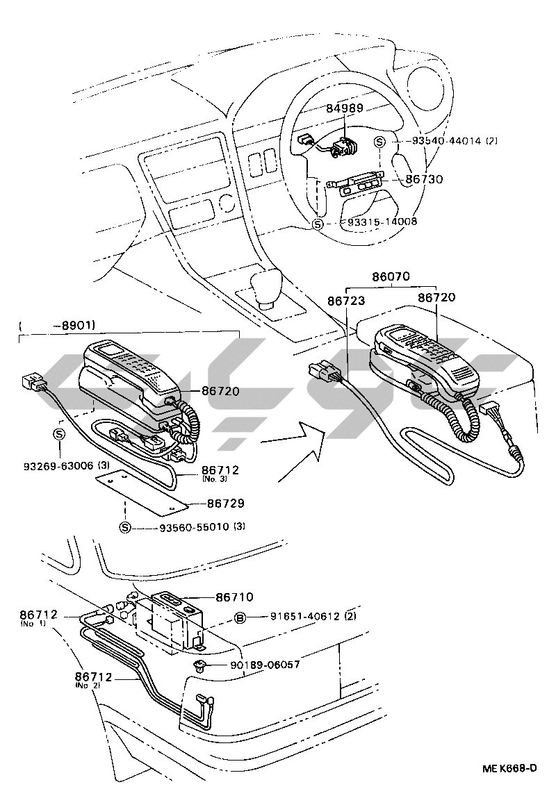
TELEPHONE MAYDAY MZ2
آینه
تهویه مطبوع گرمایش بخاری واحد فن
تهویه مطبوع گرمایش خنککننده واحد
تهویه مطبوع گرمایش خنککننده واحد CTR نمایشگر MZ2
تهویه مطبوع گرمایش کنترل هوا کانال
تهویه مطبوع گرمایش آب لوله
تهویه مطبوع گرمایش وکیوم لوله
تهویه مطبوع گرمایش خنککننده لوله
تهویه مطبوع گرمایش کمپرسور
ژنراتور یون یا تصفیهکننده هوا