سبد خرید خالی است
ابزار استاندارد
مجموعه جزئی موتور
بلوک کوتاه مجموعه
تعمیر اساسی موتور واشر کیت
سر سیلندر 2Y 3Y
سر سیلندر
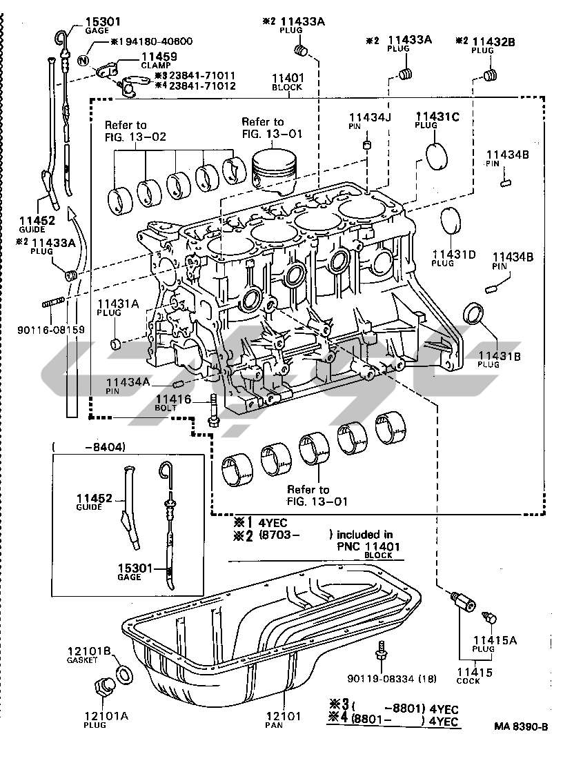
بلوک سیلندر 2Y 3Y
بلوک سیلندر
دنده تایمینگ درپوش عقب END صفحه 2Y 3Y
دنده تایمینگ درپوش عقب END صفحه
نصب 2Y 3Y
نصب
شیلنگ تهویه
شیلنگ تهویه MA6293A MA6703 2Y 3Y
میل لنگ پیستون 2Y 3Y
میل لنگ پیستون
میل بادامک سوپاپ 2Y 3Y
میل بادامک سوپاپ
پمپ روغن موتور 2Y 3Y
پمپ روغن موتور
فیلتر روغن 2Y 3Y
فیلتر روغن
پمپ آب 2Y 3Y
پمپ آب
خروجی آب رادیاتور
V-BELT
منیفولد (لوله ورودی/خروجی موتور)
لوله اگزوز
فیلتر هوا
فیلتر هوا 2Y 3Y
لوله وکیوم 2Y 3Y
لوله وکیوم
صفحه هشدار نام صفحه (موتور)
کویل جرقه، شمع، شمع گرمکن 2Y 3Y
کویل جرقه، شمع، شمع گرمکن
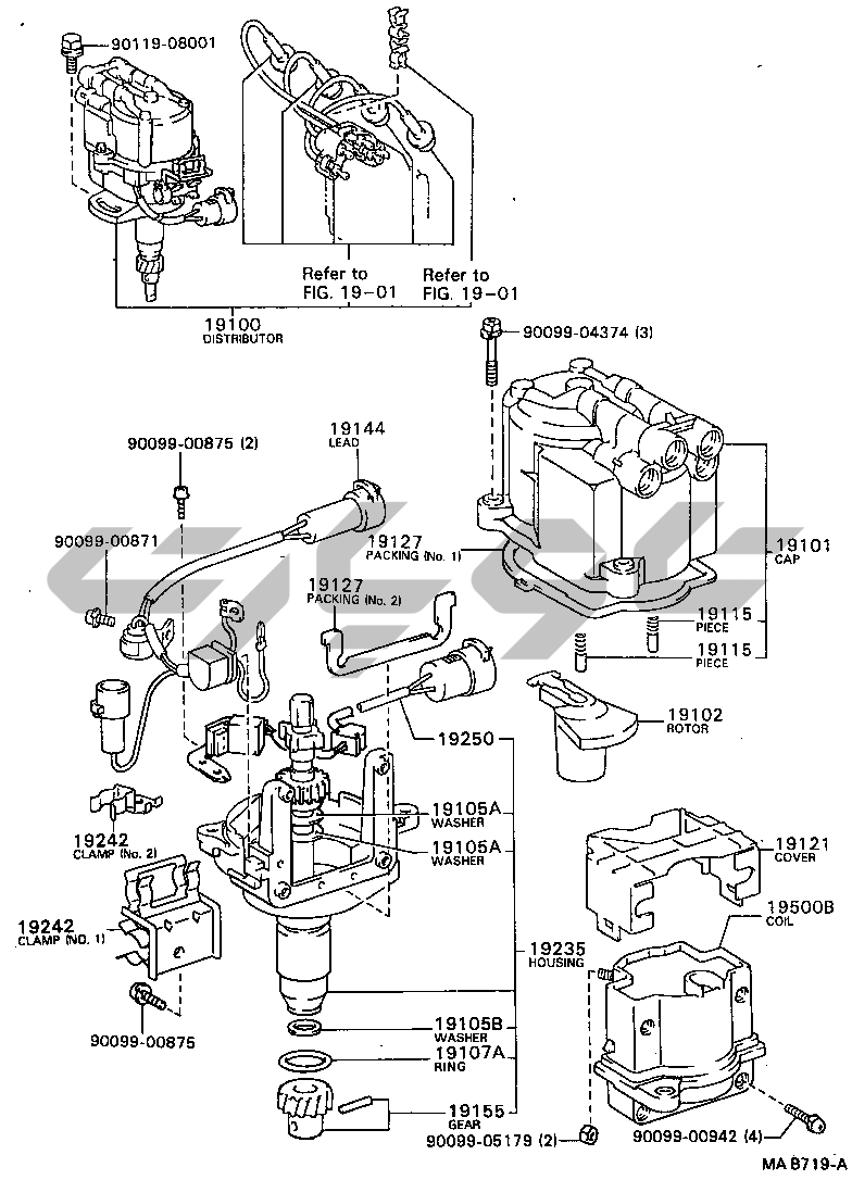
DISTRIBUTOR
دینام 12 ولت 60A 70A
دینام 3Y
استارت 12 ولت
استارت
سیستم تزریق سوخت
سیستم گردش مجدد گاز اگزوز