سبد خرید خالی است
کاور زیر تیر عرضی تعلیق
نگهدارنده چرخ زاپاس
اتصال سپر جلو
اتصال سپر جلو EUR
اتصال سپر عقب
مشبک رادیاتور EUR
محفظه دستکش پنل دستگاه
جلو VENTILATOR
پنل جلو شیشه جلو شیشه EUR
کف جلو پنل جلو کف تیر
پنل عقب کف تیر
عایق کف
بالشتک کف کفپوش صدا خفه کن
براکت جعبه کنسول
تیر کناری
شیشه کناری
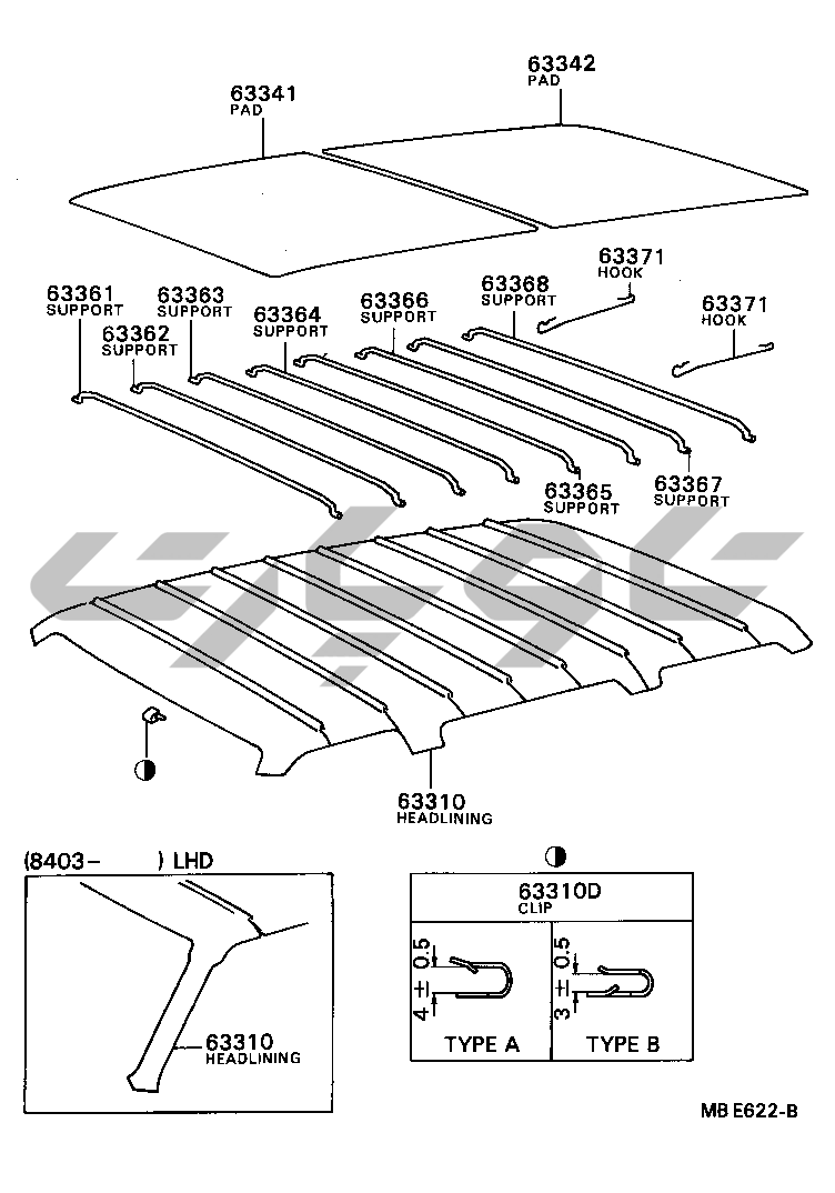
پنل سقف عقب
عقب VENTILATOR سقف
تریم داخل تخته
بالشتک صدا خفه کن پوشش سقف
شیشه پنل درب جلو
دستگیره قفل درب جلو
لولا تنظیمکننده شیشه درب جلو
شیشه پنل درب عقب
دستگیره قفل درب عقب
ریل کشویی غلتک
قفل درب عقب لولا
مجموعه سیلندر قفل
ریل صندلی
صندلی تسمه
آفتابگیر دسته صندلی
نگهدارنده باتری
صفحه هشدار
ASH RECEPTACLE
صفحه نام نشان
نوار تزئینی
ابزار جعبه پلاک صفحه براکت
لوله باک سوخت
اتصال شتابدهنده YR2
COLOR FINDING TABLE