تویوتا Parts Catalog
برندنامکد
تویوتاتویوتاgr-86-zn8bl-b8TOYOTA

دسته بندی

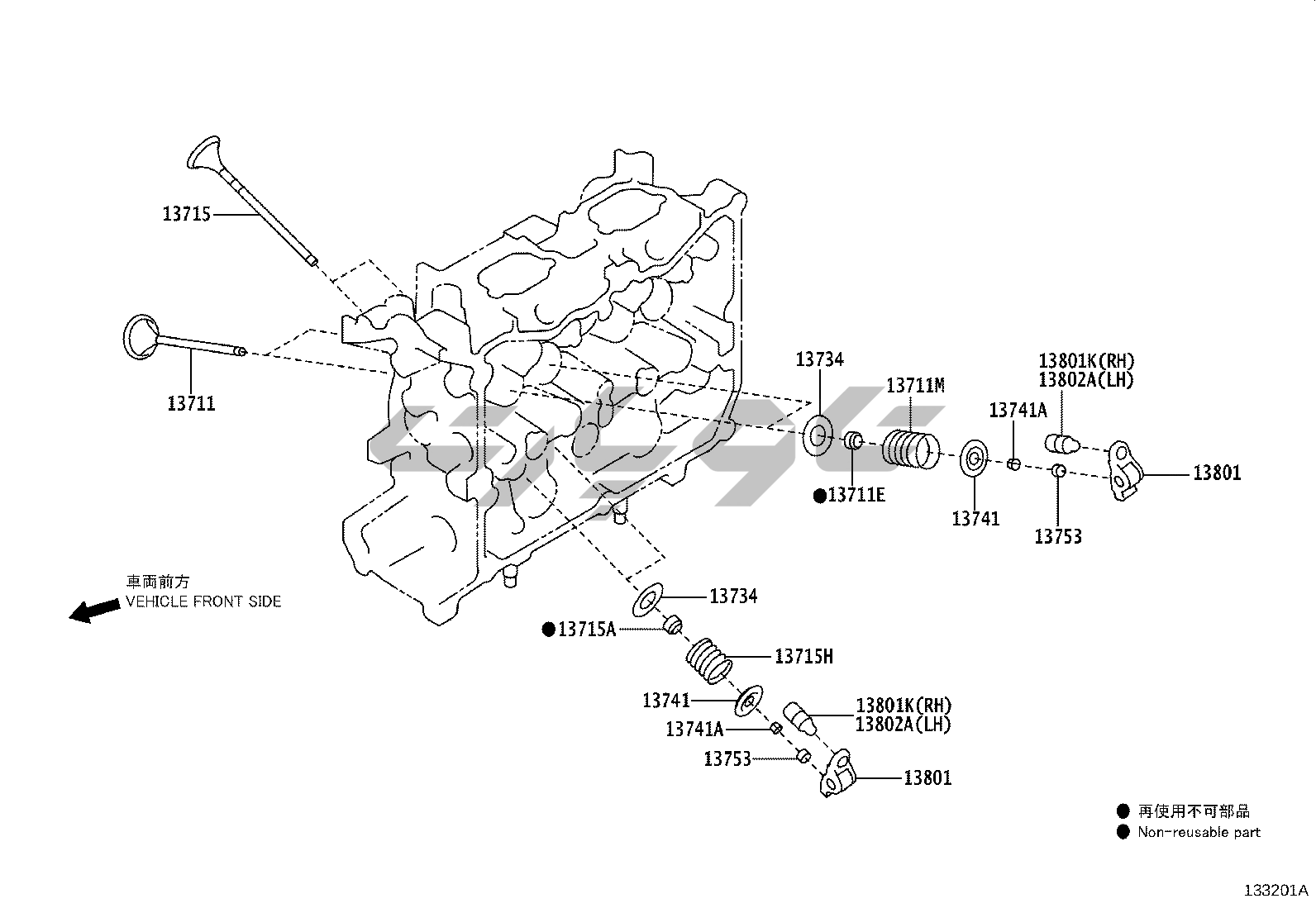
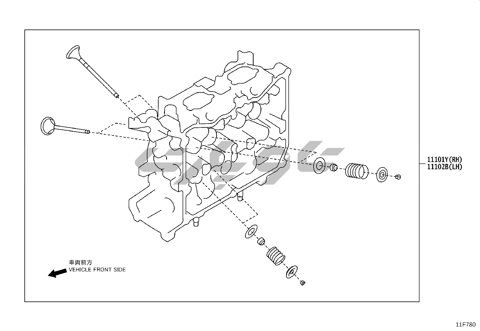
موتور/سوخت/ابزار

تعداد کاتالوگ ها: 63