سبد خرید خالی است
ابزار استاندارد IND TAIW
مجموعه جزئی موتور
بلوک کوتاه مجموعه
تعمیر اساسی موتور واشر کیت
سر سیلندر
بلوک سیلندر
دنده تایمینگ درپوش عقب END صفحه
نصب
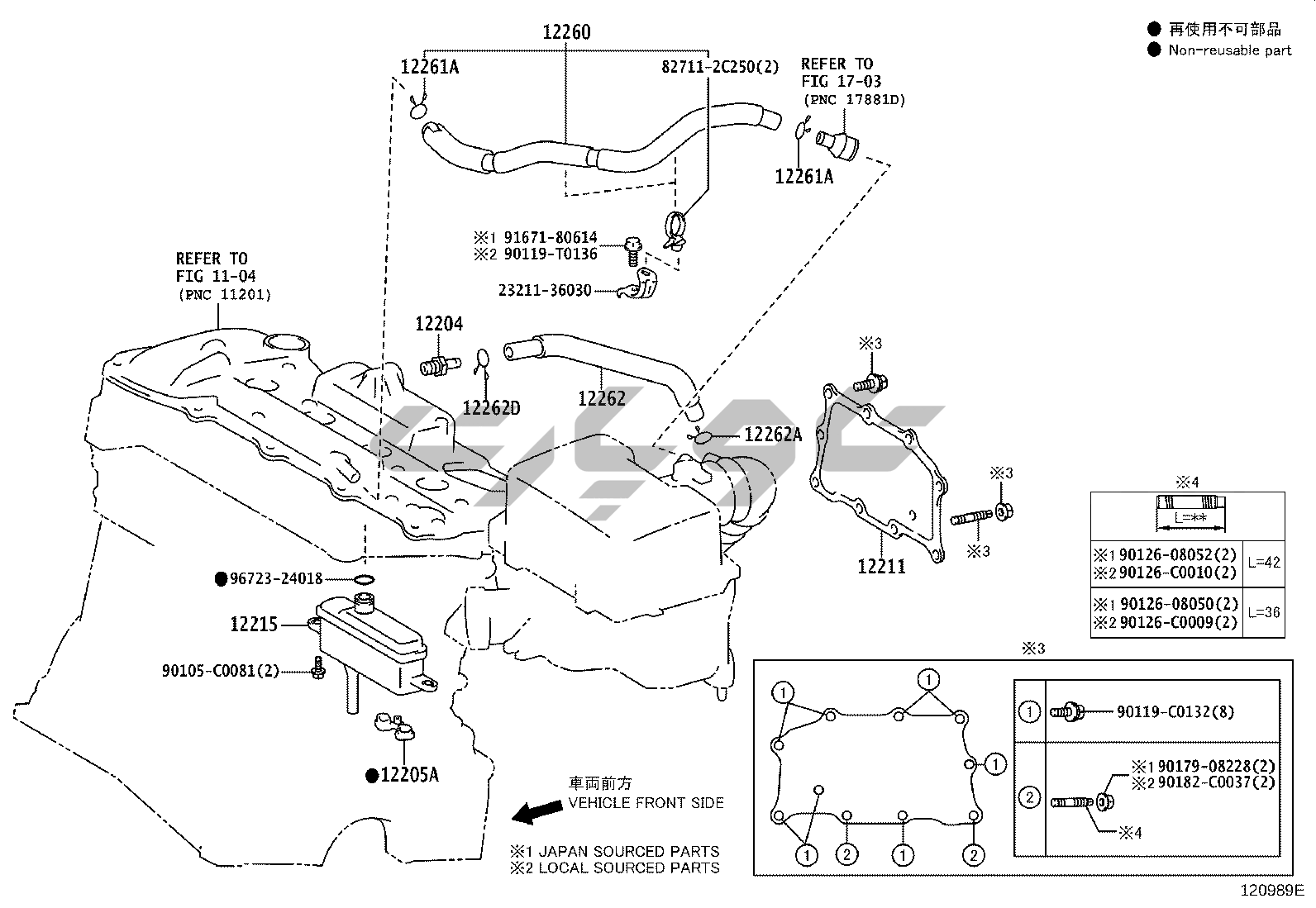
شیلنگ تهویه
میل لنگ پیستون TAIW
میل بادامک سوپاپ
پمپ روغن موتور
فیلتر روغن
موتور روغن خنککننده
پمپ آب
خروجی آب رادیاتور موتور کناری
خروجی آب رادیاتور رادیاتور کناری 2ARFE 6ARFSE IDN IND TAIW
V-BELT 1AZFE 2ARFE
منیفولد (لوله ورودی/خروجی موتور)
لوله اگزوز TAIL SINGLE TYPE 1AZFE 2ARFE 2ARFXE IND TAIW 6ARFSE
فیلتر هوا
لوله وکیوم
کویل جرقه، شمع، شمع گرمکن
دینام 12 ولت 80A 100A 2ARFE 6ARFSE IDN MA IND VN
استارت 12 ولت 6W
پمپ وکیوم
سیستم تزریق سوخت
سیستم گردش مجدد گاز اگزوز