سبد خرید خالی است
کاور زیر تیر عرضی تعلیق
نگهدارنده چرخ زاپاس
اتصال سپر جلو
اتصال سپر عقب
مشبک رادیاتور
کاپوت و گلگیر جلو
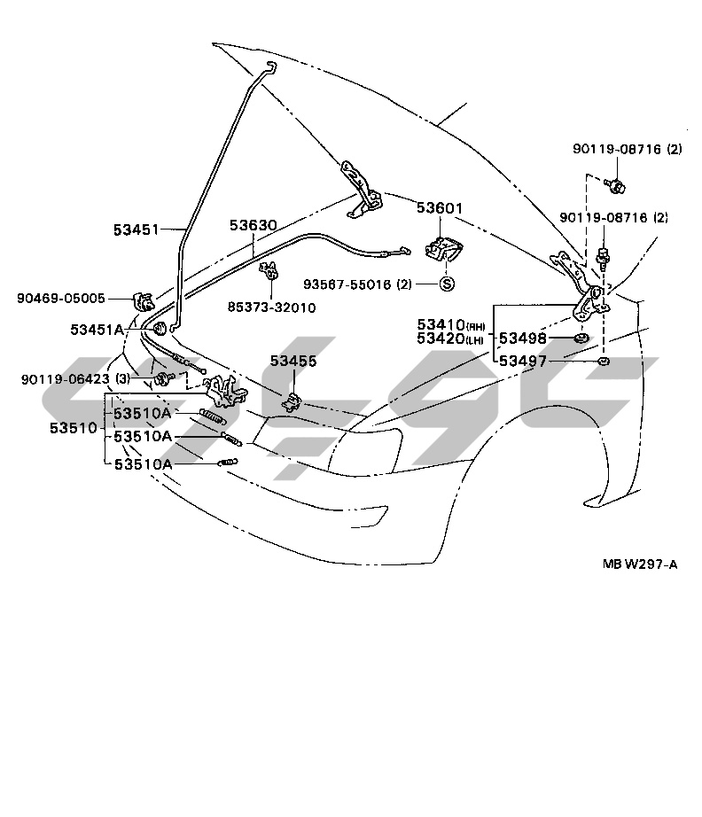
لولا قفل کاپوت
پنل داش محافظ گلگیر جلو
تیر کناری کف
محفظه دستکش پنل دستگاه
شیشه جلو پنل محافظ
پنل عقب پایین پنل کف
عایق کف
فرش کفپوش
براکت جعبه کنسول
تیر کناری
تهویه کناری سقف
شیشه لچکی
شیشه پنجره عقب پنل سقف
تریم داخل تخته درب بازشو نوار تزئینی
بالشتک صدا خفه کن پوشش سقف
کاور تریم عرشه تخته عرشه
شیشه پنل درب جلو U
شیشه پنل درب جلو
دستگیره قفل درب جلو U
لولا تنظیمکننده شیشه درب جلو
شیشه پنل درب عقب U
شیشه پنل درب عقب
دستگیره قفل درب عقب
لولا تنظیمکننده شیشه درب عقب
مجموعه سیلندر قفل
ریل صندلی جلو
ریل صندلی جلو FZ U UL
ریل صندلی عقب
صندلی محدودکننده کودک کمربند صندلی
آفتابگیر دسته صندلی
نگهدارنده باتری
صفحه هشدار (EXTERIOR INTERIOR)
ASH RECEPTACLE
صفحه نام نشان (EXTERIOR INTERIOR)
نوار تزئینی جلو
نوار تزئینی کناری
نوار تزئینی عقب
بدنه STRIPE
اسپویلر گلگیر FZ U UL
لوله باک سوخت
اتصال شتابدهنده