سبد خرید خالی است
کاور زیر تیر عرضی تعلیق
نگهدارنده چرخ زاپاس
اتصال سپر جلو
اتصال سپر عقب
مشبک رادیاتور
کاپوت و گلگیر جلو
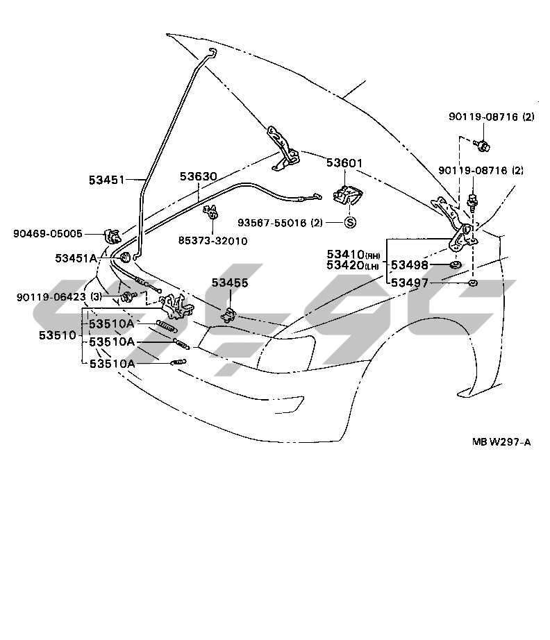
لولا قفل کاپوت
پنل داش محافظ گلگیر جلو
تیر کناری کف
محفظه دستکش پنل دستگاه
شیشه جلو پنل محافظ
پنل عقب پایین پنل کف
عایق کف
فرش کفپوش
براکت جعبه کنسول
تیر کناری
تهویه کناری سقف
شیشه لچکی
شیشه پنجره عقب پنل سقف
تریم داخل تخته درب بازشو نوار تزئینی
بالشتک صدا خفه کن پوشش سقف
کاور تریم عرشه تخته عرشه
شیشه پنل درب جلو CZ FZ TZ TZG
شیشه پنل درب جلو
دستگیره قفل درب جلو CZ FZ TZ TZG
لولا تنظیمکننده شیشه درب جلو
شیشه پنل درب عقب CZ FZ TZ TZG
شیشه پنل درب عقب
دستگیره قفل درب عقب
لولا تنظیمکننده شیشه درب عقب
مجموعه سیلندر قفل
ریل صندلی جلو
ریل صندلی عقب
صندلی محدودکننده کودک کمربند صندلی
آفتابگیر دسته صندلی
نگهدارنده باتری
صفحه هشدار (EXTERIOR INTERIOR)
ASH RECEPTACLE
صفحه نام نشان (EXTERIOR INTERIOR)
نوار تزئینی جلو
نوار تزئینی کناری
نوار تزئینی عقب
بدنه STRIPE
اسپویلر گلگیر FZ U UL
لوله باک سوخت
اتصال شتابدهنده